- 1.무용접 방화문피벗힌지를 결합하는 스틸도어용 전,후면패널의 상,하부 헤밍장치 출원 10-2012-0023648
-
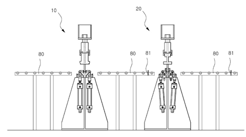
본 발명은 피벗힌지를 결합하는 스틸도어용 전,후면패널의 상,하부 헤밍장치 및 그 헤밍방법에 관한 것으로, 좀더 상세하게는 전면패널과 후면패널의 양측면을 절곡시켜 마주보게 결합하는 스틸도어의 전,후면패널 상,하부 끝단부를 피벗힌지를 결합가능케 함과 동시에 용접작업이 필요없도록 하기위해, 스틸도어의 전,후면패널 상,하부에 자리부와 힘살대를 형성하는 절곡부를 절곡하는 절곡공정을 1,2차로 나누어 1차의 절곡장치와 2차의 헤밍장치를 마련하고 상기 절곡장치와 헤밍장치의 양측과 사이에 컨베이어를 마련하도록 하여, 판형의 전,후면패널을 컨베이이에 올려 1차의 절곡장치에서 전,후면패널의 상,하부 끝단부를 먼저 절곡하고 다시 컨베이어에 의해 2차의 헤밍장치로 투입시켜고 상기 절곡된 전,후면패널의 상,하부 끝단부를 2차의 헤밍장치에서 헤밍공정으로 거쳐 전,후면패널의 절곡부를 완성한 후 컨베이어를 통해 배출시켜 일정한 장소에 적치가능케 하여, 작업자의 숙련도와 상관없이 전,후면패널의 상,하부 끝단부에 형성한 절곡부의 품질을 향상시키게 하는 이점과 컨베이어를 통해 1,2차의 절곡장치와 헤밍장치로 투입 및 배출을 가능케 하여 작업성을 향상시키게 하는 이점이 있는 것이다.
출원번호 : 10-2012-0023648
출원일자 : 2012.03.07
출원인 : (주)동광명품도어
대리인 : 곽덕환
발명자 : 이명현
- 2.무용접 방화문피벗힌지를 결합하는 스틸도어용 전,후면패널의 상,하부 헤밍장치 출원 10-2012-0023649
-
본 발명은 피벗힌지를 결합하는 스틸도어용 전,후면패널의 상,하부 헤밍장치에 관한 것으로, 좀더 상세하게는 전면패널과 후면패널의 양측면을 절곡시켜 마주보게 결합하는 스틸도어의 전,후면패널 상,하부 끝단부를 피벗힌지를 결합가능케 함과 동시에 용접작업이 필요없도록 헤밍을 용이하게 하여 작업성을 향상시키게 위해, 판형의 전,후면패널을 컨베이이에 올려 1차절곡장치에서 전,후면패널의 상,하부 끝단부를 먼저 절곡하고 다시 컨베이어에 의해 2차절곡장치로 투입시키고, 상기 절곡된 전,후면패널의 상,하부 끝단부를 2차절곡장치에서 헤밍공정을 거쳐 전,후면패널의 절곡부를 완성한 후 컨베이어를 통해 배출시켜 일정한 장소에 적치가능케 하는 것으로, 작업자의 숙련도와 상관없이 전,후면패널의 상,하부 끝단부에 형성한 절곡부의 품질을 향상시키게 하는 이점과 컨베이어를 통해 1차절곡공정과 2차절곡공정으로 투입 및 배출을 가능케 하여 작업성을 향상시키게 하는 이점이 있는 것이다.
출원번호 : 10-2012-0023649
출원일자 : 2012.03.07
출원인 : (주)동광명품도어
대리인 : 곽덕환
발명자 : 이명현
- 3.무용접 방화문피벗힌지를 결합하는 스틸도어용 전,후면패널의 상,하부 헤밍방법 출원 10-2012-0023650
-
본 발명은 피벗힌지를 결합하는 스틸도어용 전,후면패널의 상,하부 헤밍방법에 관한 것으로, 좀더 상세하게는 전면패널과 후면패널의 양측면을 절곡시켜 마주보게 결합하는 스틸도어의 전,후면패널 상,하부 끝단부를 피벗힌지를 결합가능케 함과 동시에 용접작업이 필요없도록 헤밍을 용이하게 하여 작업성을 향상시키기 위해, 판형의 전,후면패널을 컨베이이에 올려 1차의 절곡장치에서 전,후면패널의 상,하부 끝단부를 먼저 절곡하고 다시 컨베이어에 의해 2차의 헤밍장치로 투입시키고, 상기 절곡된 전,후면패널의 상,하부 끝단부를 2차의 헤밍장치에서 헤밍공정을 거쳐 전,후면패널의 절곡부를 완성한 후 컨베이어를 통해 배출시켜 일정한 장소에 적치가능케 하는 것으로, 작업자의 숙련도와 상관없이 전,후면패널의 상,하부 끝단부에 형성한 절곡부의 품질을 향상시키게 하는 이점과 컨베이어를 통해 1차의 절곡공정과 2차의 헤밍공정으로 투입 및 배출을 가능케 하여 작업성을 향상시키게 하는 이점이 있는 것이다.
출원번호 : 10-2012-0023650
출원일자 : 2012.03.07
출원인 : (주)동광명품도어
대리인 : 곽덕환
발명자 : 이명현
- 4.무용접 방화문피벗힌지를 결합하는 스틸도어용 전,후면패널의 상,하부 헤밍장치 및 그 헤밍방법 출원 10-2012-0029997
-
본 발명은 피벗힌지를 결합하는 스틸도어용 전,후면패널의 상,하부 헤밍방법에 관한 것으로, 좀더 상세하게는 전면패널과 후면패널의 양측면을 절곡시켜 마주보게 결합하는 스틸도어의 전,후면패널 상,하부 끝단부를 피벗힌지를 결합가능케 함과 동시에 용접작업이 필요없도록 헤밍을 용이하기 위해, 스틸도어의 전,후면패널 상,하부에 자리부와 힘살대를 형성하는 절곡부를 나누어 1차 절곡공정의 절곡장치와 헤밍공정의 헤밍장치를 전,후면패널의 상부전용과 하부전용으로 나눠 2,3차헤밍장치를 마련하고 그 사이와 1차절곡장치와 3차헤밍장치로 전,후면패널을 투입 및 배출가능케 1차절곡장치와 3차헤밍장치의 일측에 컨베이어를 마련하여, 1차절곡장치에서 절곡된 힘살대에 의해 승강 컨베이어를 이용하여 3차헤밍장치로 이동을 용이하게 하고 다시 2차헤밍장치로 이동가능케 하여 판형의 전,후면패널의 상,하부를 1차절곡장치와 2,3차헤밍장치로 이동을 용이하게 함과 동시에 판형의 전,후면패널의 상,하부를 용이하게 절곡가능케 하여 컨베이어를 통해 배출시켜 일정한 장소에 적치가능케 하여, 작업자의 숙련도와 상관없이 전,후면패널의 상,하부 끝단부에 형성한 절곡부의 품질을 향상시키게 하는 이점과 컨베이어를 통해 1차의 절곡장치의 절곡공정과 2,3차헤밍장치의 헤밍공정으로 투입 및 배출을 순차적으로 연속적으로 가능케하여 작업성을 향상시키게 하는 이점이 있는 것이다.
출원번호 : 10-2012-0029997
출원일자 : 2012.03.23
출원인 : (주)동광명품도어
대리인 : 곽덕환
발명자 : 이명현
- 5.무용접 방화문피벗힌지 결합을 위한 보강재 및 용접이 필요 없는 방화문 및 그 제조방법 출원 10-2011-0100316
-
본 발명은 피벗힌지 결합을 위한 보강재 및 용접이 필요 없는 방화문 및 그 제조방법에 관한 것으로서, 보다 상세하게는 전면패널과 후면패널의 상, 하측 끝부를 돌출되고, 꺾임 되도록 절곡 성형한 후 상기 전면패널과 상기 후면패널의 절곡된 절곡부가 상호 마주하되 다단으로 겹쳐지도록 구성하여 통상의 피벗힌지와 결합 시 별도의 보강재와 용접작업 후 그라인딩 작업이 불필요하게 됨으로써 편리성이 부여되며 심미감을 덜어주고, 디자인적 미려감을 높임은 물론 종래의 방화문과 동일한 방화성을 가짐과 동시에 제조원가 절감이 됨으로 경제적 효율성이 매우 우수한 발명이라 하겠다.
출원번호 : 10-2011-0100316
출원일자 : 2012.03.30
출원인 : (주)동광명품도어
대리인 : 곽덕환
발명자 : 이명현
- 6.무용접 방화문보강재와 연결부재가 필요 없는 방화문 연결구조 및 연결방법 출원 10-2012-0065919
-
본 발명은 보강재와 연결부재가 필요 없는 방화문 연결구조 및 연결방법에 관한 것으로, 보다 상세하게는 금속재질의 장방형으로 형성되며 상호 마주하는 전, 후면패널을 구비하고, 상기 전, 후면패널의 측면을 절곡하여 연결한 후 상기 전, 후면패널의 상, 하측을 절곡하여 다단으로 겹쳐지도록 하여 연결 구성되는 방화문 연결구조에 있어서, 상기 전, 후면패널(10, 20)을 구비한 후 상기 전면패널(10)의 상, 하측에 접힘부(13)를 형성하고, 상기 후면패널(20)의 상, 하측에 걸림홈(23)을 형성한 후, 상기 전, 후면패널(10, 20)을 다단으로 겹친 후 상기 접힘부(13)를 구부려 걸림홈(23)에 걸림 고정되게 구성하게 됨으로써 별도의 보강재와 연결부개가 필요 없을 뿐만 아니라 방화문을 연결함과 더불어 도색작업이 작업자들의 편리성을 부여할 수 있도록 한 방화문의 연결구조 및 방법에 관한 것이다.
출원번호 : 10-2012-0065919
출원일자 : 2012.06.20
출원인 : (주)동광명품도어
대리인 : 곽덕환
발명자 : 이명현
- 7.방화문 외도어용 적치대 출원 10-2014-0033896
-
본 발명은 도어용 적치대에 관한 것으로, 좀더 상세하게는 가정용 또는 산업용에 사용되는 철이나 알루미늄 또는 스테인레스강 등의 금속으로 제작된 방화문, 방수문, 방음문 등으로 그 목적으로 인해 여러가지로 구분되어 있는 도어를 제작하여 보관 및 적치하여 현장으로 이동 및 시공을 용이하게 하기 위해, 몸체 하부에는 지게차용 걸이부를 마련하는 연결대를 마련하고 몸체의 일측에는 회전구로 연결하는 하대를 양측으로 연결하고 하대의 타측에는 상대를 연결링크로 연결하도록 하되 상기 상대의 끝단에는 경첩으로 연결하여 서로 마주보는 상대와 하대는 상걸이대와 하걸이대로 상대와 하대를 연결한 경사대를 서로 마주보게 고정하게 함과 동시에 상기 상대와 하대에 연결된 상,하걸이대를 분리시키면 상대와 하대를 몸체에 연결된 회전구와 연결링크에 의해 상대와 하대가 벌어지게 되면서 경첩에 의해 상대가 하대의 상부로 포개지게 하여, 차량에 도어를 적재시에는 상기 상대와 하대를 경사지게 세운 경사대에 경사지게 적재가능케 함과 동시에 적재된 도어를 시공 한 후 빈 적치대는 상대와 하대를 연결하는 걸이대를 분리시켜 상대와 하대를 포개어 지도록 하여 차량의 적재함 높이를 낮게 하여 이동가능케 할 수 있는 이점이 있는 것이다.
출원번호 : 10-2014-0033896
출원일자 : 2014.03.24
출원인 : (주)동광명품도어
대리인 : 곽덕환
발명자 : 이명현
- 8.대형 방화문양개형 방화문 변형 방지 장치 출원 10-2018-0046120
-
본 발명은 양개형 방화문에 관한 것으로, 더욱 상세하게는 화재시 열에 의해 양개형 방화문이 팽창 변형되는 것을 최소화하여 힌지 이탈을 방지하며 화염이나 연기가 번지지 않도록 하는 양개형 방화문 변형 방지 장치에 관한 것이다. 기술적 과제를 해결하기 위해 안출된 본 발명에 따른 양개형 방화문 변형 방지 장치는 우측도어와 좌측도어가 양측으로 180도 회전되는 양개형 방화문에 있어서, 상기 양개형 방화문의 양단에 설치되는 힌지축과, 상기 힌지축과 내측으로 연결되어 상기 양개형 방화문의 내부에 매립되는 힌지가 갖추어져 상기 양개형 방화문이 상기 힌지축을 기준으로 회전되게 하는 회전부재와 상기 힌지축의 후면에 설치되고 일측이 벽체에 매립되며 타측면에 절곡된 홈이 형성되는 고정 절곡부가 갖추어져 종방향으로 연장 형성되는 프레임부재 및 상기 양개형 방화문의 후면에 설치되고, 일측면이 부분 돌출된 돌출부가 상기 고정 절곡부에 삽입되어 화재 발생시 상기 양개형 방화문의 변형으로 상기 힌지가 이탈되는 것을 방지하기 위한 스토퍼부재를 포함하는 것을 특징으로 한다.
출원번호 : 10-2018-0046120
출원일자 : 2018.04.20
출원인 : (주)동광명품도어
대리인 : 특허법인부경
발명자 : 이명현
- 9.대형 방화문팽창성 발포제를 갖는 방화문 출원 10-2018-0047640
-
본 발명은 팽창성 발포제를 갖는 방화문에 관한 것으로, 더욱 상세하게는 화재시 방화문 내에 구비되는 팽창성 발포제가 방화문이 변형되는 방향으로 발포되어 변형되지 않도록 방지되는 팽창성 발포제를 갖는 방화문에 관한 것이다. 상기의 목적을 달성하기 위한 본 발명은 내측으로 돌출된 문턱이 형성되는 문틀과 일측이 상기 문틀과 힌지 결합되고 손잡이에 의해 개폐되는 문짝과 상기 문짝의 타측 내부에 설치되고, 내부가 비어있는 육면체로 형성되는 몸체부와, 상기 몸체부의 전방으로 개방되는 개방부로 형성되어 종방향으로 일정간격 이격되게 구비되는 케이스 및 상기 케이스 내부에 교차되게 적층되고 화재시 열에 의해 전방으로 발포되며 상기 문짝의 외벽을 밀어주어 상기 문짝의 변형이 방지되는 팽창성 발포제를 포함하는 것을 특징으로 한다.
출원번호 : 10-2018-0047640
출원일자 : 2018.04.25
출원인 : (주)동광명품도어
대리인 : 특허법인부경
발명자 : 이명현
- 10.무용접 프레임끼움식 무용접 프레임 조립구조 출원 10-2018-0169571
-
- 11.무용접 프레임나사결합식 무용접 프레임 조립구조 출원 10-2018-0169575
-
- 12.무용접 프레임돌기 결합형 무용접 프레임 조립구조 출원 10-2018-0169567
-
- 13.대형 방화문접이식 방화문 출원 10-2019-0004777
-
본 발명은 접이식 방화문에 관한 것으로, 구체적으로는 방화문이 다단 접이식으로 형성되어 순차적으로 회전됨으로써, 구조물이나 조형물과의 간섭을 방지하며, 문턱이 없는 무턱형 접이식 방화문으로 사람들이 대피시 문턱으로 인한 사고를 예방하는 접이식 방화문에 관한 것이다. 상술한 목적을 달성하기 위한 본 발명의 특징에 의하면, 본 발명은 상단에 배치되는 상부 수평프레임과, 상기 상부 수평프레임의 양단에 배치되는 수직프레임으로 이루어지는 문틀과 상기 문틀의 상부 수평프레임에 배치되며, 전방으로 하향 기울어지게 형성되어 고정 설치되는 안내봉과 상기 문틀의 타측에 배치되며, 다단으로 중첩되도록 구비되고, 자동개폐기의 동작에 따라 벽체에 고정되어 상시 개방되거나 회전하여 닫히는 접이식 문짝과 상기 접이식 문짝의 상단에 배치되며, 중첩된 상기 접이식 문짝의 결속이 유지되도록 구비되고, 상기 접이식 문짝의 회전에 의해 상기 안내봉에 걸리면서 결속이 해제되는 회전구속장치를 포함하는 것을 특징으로 한다.
출원번호 : 10-2019-0004777
출원일자 : 2019.01.14
출원인 : (주)동광명품도어
대리인 : 특허법인부경
발명자 : 이명현
- 14.방화문 외슬라이딩 방화문 출원 10-2019-0102651
-
- 15.방화문 외3단 문결속기 출원 10-2019-0163702
-
- 16.방화문 외도어 결속장치 출원 10-2019-0163707
-
- 17.무용접 방화문해외(중국)
-
- 18.무용접 방화문해외(인도네시아)
-
- 19.무용접 방화문해외(베트남)
-